《三国:谋定天下》零氪玩家开荒攻略
- 来源:taptap
- 作者:木木夕雨
- 编辑:慧玲
三国谋定天下零氪玩家怎么玩,点开同盟,会有商店,日常和贡献商店,前期急需铜币升级战法,所以该买的记得买,同时也有预备兵为你翻车保驾护航,预备不够时可进行购买,日常商店每天都会更新,贡献商店7天一更。
《三国:谋定天下》零氪玩家开荒攻略:
一、零氪党开荒
1、零氪可以获取的橙将:
①徐盛(开服就送)
②第一发五连抽必出一个橙将(大概率徐庶、张梁、张郃等),同时送你的20抽必出一个橙色输出技能。
③孙策(签到第二天送)
④登录7天奖励125抽(多少也会出几张橙将)
2、开荒阵容搭配:
由于第一天无法获取孙策,可以使用紫色武将卢植替代。
开荒阵容统一公式:
肉(前排)+辅助或输出(回奶、增伤武将)+输出
利用现有条件,我们就得出零氪开荒阵容:
箕型阵:徐盛+卢植+橙卡(第一个五连出的)
第一天开荒:
徐盛:避其锐气
卢植:咏歌尝酒
输出:橙色输出技能
就用这队去进行开荒,一二级地不需要考虑用什么武将他都可以打,三级地之后换这套阵容开。
第二天开荒:
孙策替换卢植,直接用上
徐盛:避其锐气+铸甲销戈(都是送的神技能)
孙策:疾行侧击+揭竿而起(一个挂畏惧一个断粮)
输出武将:输出技能+输出技能(到第二天应该还会抽出其他技能补充,按照推荐来即可)
以上是零氪开荒阵容搭配



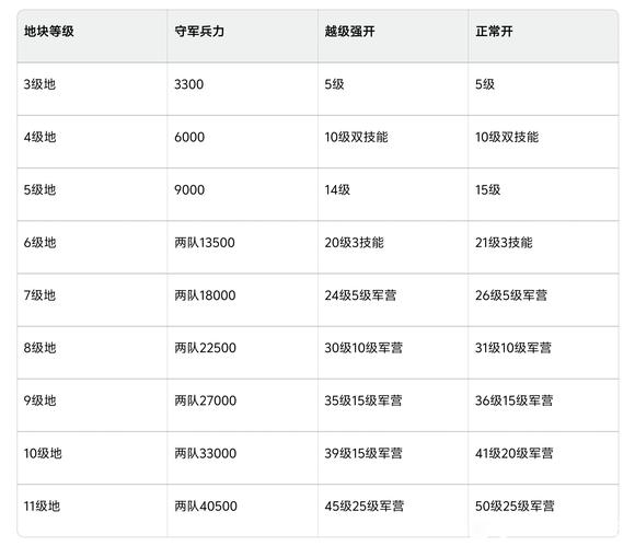
二、开荒兵力配置
看图即可,图表我整理的很详细了,根据图表来
一二级地不用说,只要是个武将兵力拉满都能过
3级地5级开
4级地10级开
5级地15级开
6级地20级开
7级地25级开
……以此类推,普通玩家不建议越级打地,战损高,经验少,除非有红度,可以考虑尝试越级
三、开荒中细节提醒
1、开荒新手期期间,可以随意置换武将和战法,均不消耗黄金,所以在快结束新手期时,一定要调整好队伍搭配,不浪费次数和黄金
2、点开同盟,会有商店,日常和贡献商店,前期急需铜币升级战法,所以该买的记得买,同时也有预备兵为你翻车保驾护航,预备不够时可进行购买,日常商店每天都会更新,贡献商店7天一更
3、城务点开,都是每天该做的
①贼兵,讨贼可以获得一定数量资源箱,可以缓解燃眉之急,同时可以获得贡献值,可以在贡献商店换预备兵和资源,加快盟壳升级
②屯田,合理运用好每天5次屯田机会,卡资源时用一用
③军演,一般来说,每天上线第一件事情就是把军演先打了,所有的都是早上7点刷新,一刷新就打,加快升级步伐,获得大量储备经验,军演失败三次不建议头铁继续打,军演失败15次就打不了,建议升级后再打,尤其是开荒的时候,极易忘记打军演,新手一定要注意!
④开采,由司仓选手发动职业技能军屯,同盟玩家就可以进行开采啦,每天一次机会
4、S1同盟的限时军需补给建议盟主副盟直接满上加快盟壳升级
5、打完城后记得搬家到户口上,每天可以领资源包,增加资源收益



以上就是3DM小编整理带来的三国谋定天下零氪玩家怎么玩,零氪玩家开荒攻略,更多相关游戏攻略,请关注3DM手游网!
本文内容来源于互联网,如有侵权请联系删除。
-
《漫威终极逆转》评测:每局三分钟,随机又公平
手游评测 |廉颇
-
《逆水寒》手游2.0新赛年评测:国风朋克来袭
手游评测 |廉颇

















